
HS-G M16*1,5L vodní rotační kloub
♦Přizpůsobený vodní otočný kloub typu HS-G, specifikace M16*1,5L♦Dvoukanálová{3}}struktura zajišťuje stabilní přenos vody
♦Mosazné pouzdro, rotor z nerezové oceli
♦ Vyvážená konstrukce mechanické ucpávky pro vynikající těsnicí výkon
♦Vhodné pro vodní médium, spolehlivý provoz
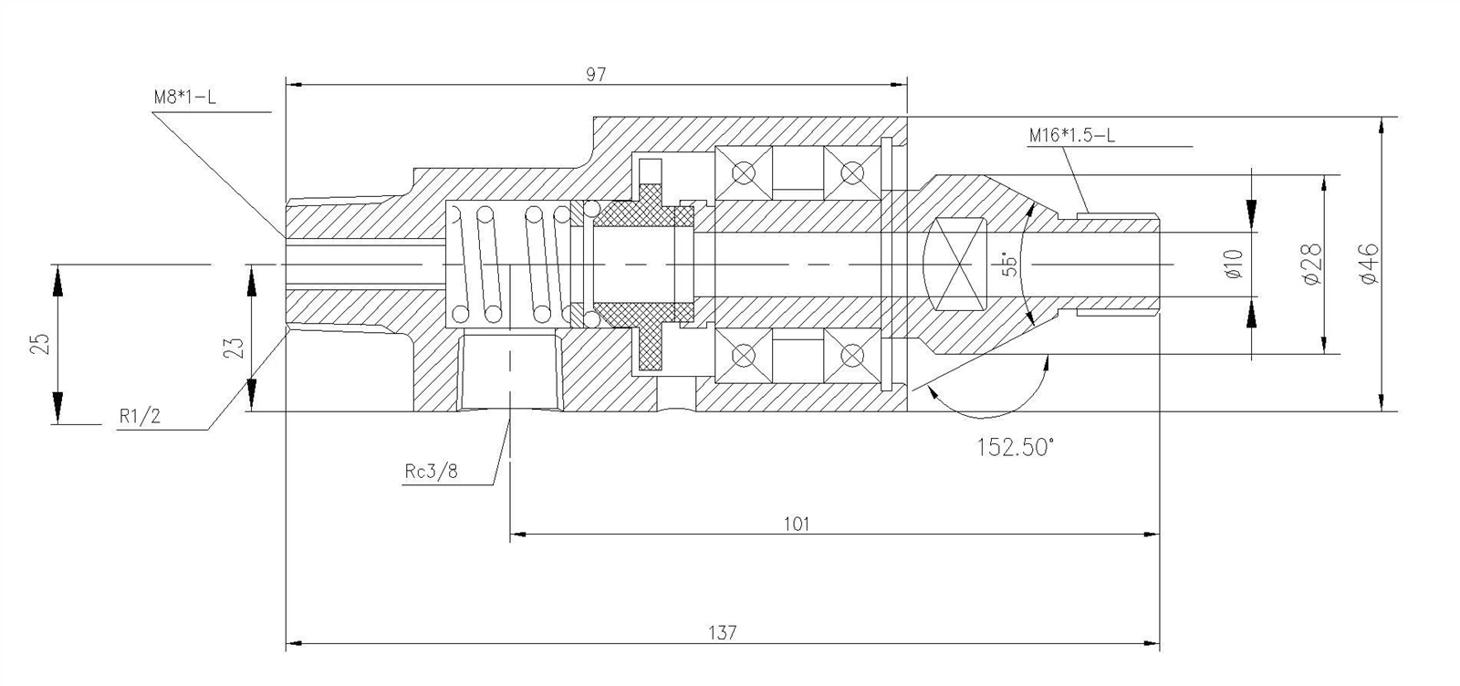
Výkres produktu

Parametry produktu
|
Technické parametry |
|
|
Střední |
Voda |
|
Max. Teplota |
250 stupňů |
|
Max. Tlak |
16 bar |
|
Max. Rychlost |
600 ot./min |
|
Pečeť |
SIC/Grafit |
|
Materiál bydlení |
Mosaz |
|
Materiál rotoru |
Nerez |
|
Konstrukční návrh |
Dvoukanálový-kanál, vyvážená mechanická ucpávka |
|
Specifikace modelu |
M16*1.5L |
Vlastnosti produktu
Vlastní adaptace
Exkluzivní přizpůsobení pro typ HS-G, specifikace M16*1,5L přesně splňuje požadavky
Vysoce{0}}kvalitní materiály
Mosazné pouzdro kombinované s rotorem z nerezové oceli, odolné proti korozi- a nelze jej snadno deformovat

Dvoukanálový-přenos vody
Dvoukanálová struktura uspokojuje požadavky na nepřetržitý a stabilní provoz přenosu vody
Účinné těsnění
Vyvážená mechanická ucpávka + SIC/grafitové těsnění, zabraňující úniku vody
FAQ
A1: Mosazný materiál má dobrou odolnost proti vodě a tepelnou vodivost, vhodný pro scénáře provozu s vodou. Zároveň má střední mechanickou pevnost, která může zajistit strukturální stabilitu spoje za normálních pracovních podmínek. Navíc má vynikající výkon při zpracování, který dokáže přesně realizovat přizpůsobenou specifikaci M16 * 1,5L.
A2: Ano, lze to zaručit. Výrobek využívá těsnění SIC/grafit, které má vynikající-odolnost vůči vysokým teplotám. V kombinaci s vyváženým designem mechanické ucpávky může dosáhnout stabilního utěsnění za pracovních podmínek maximální teploty 250 stupňů a maximálního tlaku 16 barů, což účinně zabraňuje úniku vody.
Populární Tagy: hs-g m16*1,5l vodní rotační kloub, Čína hs-g m16*1,5l vodní rotační kloub, továrna
Odeslat dotaz














